您好,欢迎进入xk星空体育直播平台官方网站!

与时俱进,诚赢客户

龙门吊、提梁机、星空体育官方账号生产厂家

服务电话:13782575673

起重机产品问答

您现在所在位置:首页>>xk星空体育网址>>pc星空游戏下载

卷筒组是欧式起重机中重要加工部件

本文链接://www.xlhydra.com/cjwt/506.html   发布时间:2021-02-26 02:15:18  点击量:1354

  卷筒组是欧式起重机起升机构的重要加工部件,欧式小车卷筒省去了传统行车的专用轴承底座,和小车架主、副端梁合为一体支承由卷筒所承担的负载重量,卷筒长度和强度的计算与传统桥式小车的卷筒一样(参见2013《起重机设计手册》710~716页中的相关内容)。欧式卷筒中间光杆部分的取值计算,在第3章小车的起升机构中介绍。

  欧式卷筒的类型

  从加工方式来看,欧式卷筒组(图2-17)有两种类型:①铸造卷筒组;②焊接卷筒组。

  铸造卷筒组(图2-18)只适应50t以下的小欧式起重机,多采用HT200铸造毛坯加工而成。焊接卷筒组(图2-19)适应小、中、大欧式起重机,多采用Q235-B和Q345-B钢板弯卷而成,重量相对较轻,适用于单件生产和大尺寸卷筒,但Q345-B钢板弯卷而成的卷筒必须经时效处理退除应力后再机加工和热处理。

  从钢丝绳的固定方式来看,欧式卷筒组有两种类型:①钢丝绳用压板固定在卷筒两头的卷筒臂上(图2-19(a)、图2-20);②钢丝绳用U形螺栓固定在卷筒两头的挡板上(图2-19(b)和图2-21)。

  钢丝绳在卷筒上的固定必须**可靠,便于检查和更换钢丝绳。用压板固定在卷筒两头臂上的卷筒,一般适合5~50t小欧式起重机。对63~300t的中欧式起重机和大于300t的大欧式起重机,由于标准减速器中心距有限,电机和卷筒在布置起升机构时,只能将起升机构布置在小车横梁异侧,其间距往往受到电机和卷筒的横向尺寸影响,一般将钢丝绳在卷筒侧板的外边用U形螺栓固定,便于布置起升机构的电机和制动器。

  从传统的卷筒连接方式来看,卷筒组有三种类型:①齿轮盘轴接手连接;②花键连接;③卷筒联轴器连接。

  欧式起重机在欧洲一般采用卷筒与减速器固定连接和柔性连接,卷筒与减速器的连接有多种连接方式(参见须雷,“起重机钢丝绳卷筒与减速器的连接方式”,《起重运输》,1987,(7)),在国内产品设计中,由于传动可靠,组装、拆卸方便,大多数还是采用卷筒联轴器连接。

  卷筒的特点

  欧式小车的卷筒推荐采用单层绕双联卷筒,绳槽采用标准槽型式,对起升高度超过30m的卷筒推荐采用深槽卷筒。卷筒有效绳槽的长度尺寸主要与起重量、起升高度和倍率有关,对起升高度较大的起重机,卷筒可以增大直径,但需要考虑卷筒轴线与起升机构减速器输入轴之间的距离能不能布置下电机、制动器等传动零部件。可以根据产品系列化、标准化和模块化来设计系列产品,优化卷筒的长度和直径。

  筒绳直径比e(卷筒的计算直径除以钢丝绳直径),国内和欧洲标准要求是一直的,但就国内的实际情况,钢丝绳选用**品牌的产品,8股芯钢丝绳选用较多,钢丝绳强度也比国内较高。钢丝绳直径较小,相应卷筒和滑轮直径减小,对选用卷筒联轴器会遇到难找对应型号的麻烦,在市场上也很难找到匹配的欧式系列滑轮,对传统的滑轮系列,单靠减小滑轮直径,对滑轮的强度和寿命还没有完整的实践经验和实验数据支撑,笔者在多年的产品设计中,按折中的办法,在实践中一直采用经验值。当然这是一种稍偏保守的设计理念,对筒绳直径比推荐按表2-2中的推荐值取值,供设计者参考。

图2-22桶绳直径比e
图2-22桶绳直径比e

  欧式卷筒组(图2-22和图2-23)没有支座,固定在小车架的主副端梁上,因此超载限制器只能装在滑轮轴上。由传动轴、通盖、轴承、轴承座、隔套、卷筒联轴器、轴端挡板、卷筒、钢丝绳压板、轴定位板、轴承盖、高度限制器传动齿轮、卡轴板、连接轴等组成。

  1—传动轴;2、7—通盖;3、13—轴承;4—轴承座;5、6—隔套;8—卷筒联轴器;9—轴端挡板;10—卷筒;11—钢丝绳压板;12—右端轴定位板;14—右端轴承盖;15—高度限制器传动大齿轮;16—右端轴卡板;17—右端连接轴;18—高度限制器传动小齿轮;19—右端齿轮罩壳;20—起升高度限制器;21—起升高度限制器支座;22—起升高度限制器罩

图2-23中、大欧式起重机卷筒组
图2-23中、大欧式起重机卷筒组

  1—起升传动轴;2、4、8、10、11—通盖;3、9—调心轴承;5—卷筒联轴器;6—卷筒;7—钢丝绳压板;12—高度限制器

  卷筒的强度和卷筒设计计算

  欧式卷筒的强度和卷筒设计计算与通用桥式起重机一样,参见2013《起重机设计手册》710~716页相关内容。

  欧式卷筒的壁厚推荐按经验取值后进行强度校核,一般对L≤3D的卷筒,卷筒壁厚初取0.95~1.05d;对L>3D的卷筒,卷筒壁厚初取1.1~1.2d。其中,L为卷筒长度,D为卷筒直径,d为进口钢丝绳直径。

  卷筒的装配槽向

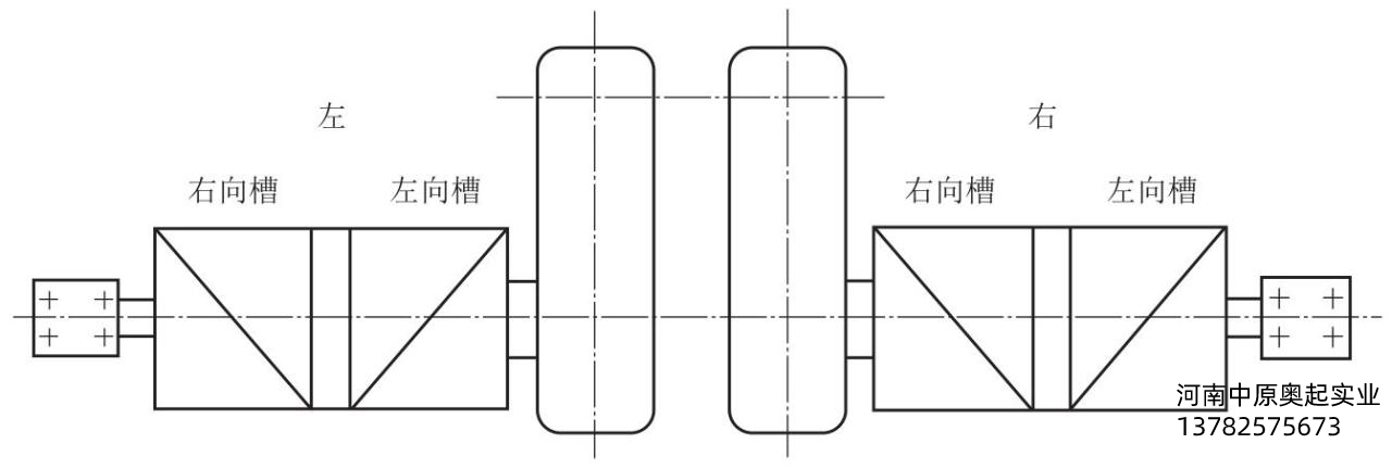
  欧式卷筒的装配,分左右槽向,槽向决定钢丝绳的顺序缠绕,与卷筒钢丝绳朝哪边放绳和钢丝绳绳头固定位置有关。对双联单层绕卷筒,理论上讲钢丝绳固定有两个位置,一个是固定在卷筒内侧,一个是固定在卷筒外侧(图2-24)。

图2-24卷筒装配槽向
图2-24卷筒装配槽向

  固定在卷筒内侧,只适应于起升高度小和起升机构倍率为1的卷筒组。对欧式起重机,在实际设计中一般不会遇到这种情况,主要因为这种情形的钢丝绳卷筒偏角远大于3.5°,将导致钢丝绳缠绕错乱,不能正常缠绕工作。

  固定在卷筒外侧,适应于欧式起重机的卷筒组。判断卷筒的槽向采用“握手规则”,即用单手(左或右手)示意握向卷筒,以判断卷筒部位的端头为参照,四指指向卷筒卷绕方向,拇指指向卷筒卷绕靠卷筒里侧方向,符合左手为左向槽,符合右手为右向槽。

文章聚合页面: 欧式起重机

联系我们

CONTACT US

联系人:徐经理

手机:13782575673

电话:0373-8611375

邮箱:hnzyaqqz@126.com

官网:www.xlhydra.com

地址:河南长垣起重工业园区华豫大道中段

Baidu
map